Prensa sujeta tubos

Ejercicios pensados para poder empezar a entender el 3D.
Imagen - INDICE EJERCICIOS PUBLICADOS


Tema anteriorTema siguiente
Avatar de Usuario

Autor del Tema
neiro82
Usuari@
Usuari@
Mensajes: 22
Registrado: Vie Dic 21, 2012 4:32 pm
Temas: 0
Programa: SOLID WORKS
Género:
Estado: Desconectado

Prensa sujeta tubos

Mensaje por neiro82 »

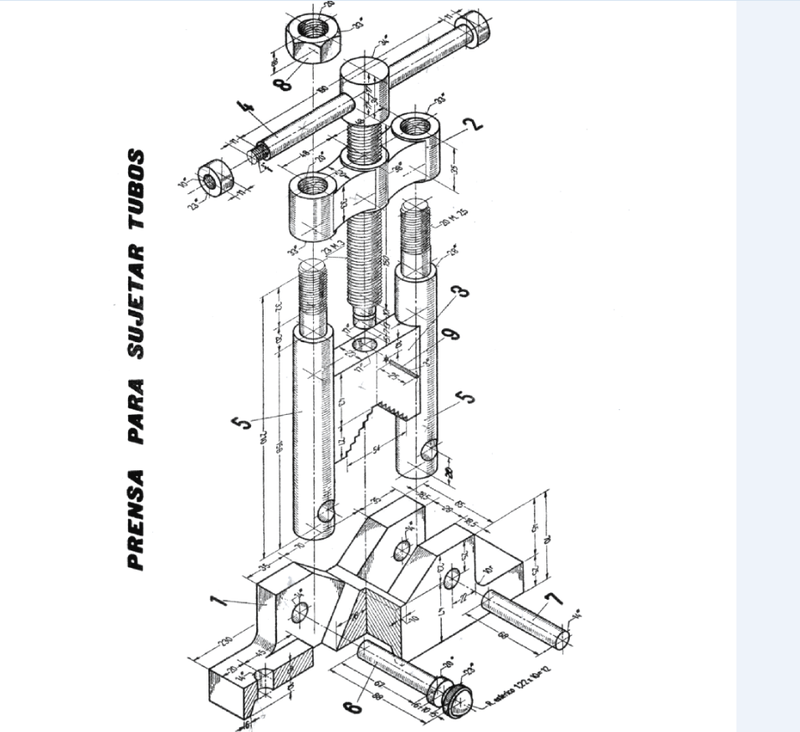
Bueno pues aquí os dejo una pieza para hacer... no todo es recibir ayuda,alguna vez tocara dar,jeje

Imagen

Última edición por Ricardo el Jue Nov 10, 2016 9:03 pm, editado 2 veces en total.
Avatar de Usuario

Autor del Tema
neiro82
Usuari@
Usuari@
Mensajes: 22
Registrado: Vie Dic 21, 2012 4:32 pm
Temas: 0
Programa: SOLID WORKS
Género:
Estado: Desconectado

Re: Prensa sujeta tubos

Mensaje por neiro82 »

Yo ya llevo dos tardes con ella, y la tengo ´casi´ acabada...no hice roscas, pues no se muy bien como hacerlas...y las tuercas no las dibuje, ni las cargue de traceparts. Lo tengo todo definido con apariencias, la escena, pero no me deja renderizar, me pone que esta insuficientemente definida...He puesto un post en el foro de Solidworks con el problema, pero bueno aquí pongo la captura de mi pieza a medias.

Imagen

Última edición por Ricardo el Jue Nov 10, 2016 9:04 pm, editado 2 veces en total.
Avatar de Usuario

skratus
Oficial 3º
Oficial 3º
Mensajes: 778
Registrado: Jue Jun 02, 2011 7:02 pm
Temas: 0
Programa: SOLID WORKS
Ubicación: Euskadi
Agradecimiento recibido: 3 veces
Género:
Zodíaco:
Edad: 49
Estado: Desconectado

Re: Prensa sujeta tubos

Mensaje por skratus »

Gracias por el aporte y un punto por tu trabajo :21

Avatar de Usuario

jairo luis
Oficial 1º
Oficial 1º
Mensajes: 1659
Registrado: Dom Abr 03, 2011 6:47 am
Temas: 1
Programa: SOLID WORKS
Ubicación: sucre
Agradecido : 1 vez
Agradecimiento recibido: 11 veces
Género:
Estado: Desconectado

Re: Prensa sujeta tubos

Mensaje por jairo luis »

un punto por tu trabajo amigo muy bien

saludos

Avatar de Usuario

Ricardo
Moderador
Moderador
Mensajes: 8727
Registrado: Lun Nov 23, 2009 7:54 pm
Temas: 1223
Programa: SOLID WORKS
Agradecido : 3267 veces
Agradecimiento recibido: 3538 veces
Género:
Estado: Desconectado

Re: Prensa sujeta tubos

Mensaje por Ricardo »

Con mas problemas de lo normal, no veo bien todas las cotas, he terminado esta prensa.

Os pongo imagen:

Imagen

Saludos.

Última edición por Ricardo el Jue Nov 10, 2016 9:04 pm, editado 1 vez en total.
https://astemar-ricardo.blogspot.com

Procesador Intel I7 12700K a 3'60 Ghz, Ram DDR3-1600 32 Gb, Tarjeta gráfica NVIDIA GeForce GT1030, Windows 11 Home 64 bits
Avatar de Usuario

Ricardo
Moderador
Moderador
Mensajes: 8727
Registrado: Lun Nov 23, 2009 7:54 pm
Temas: 1223
Programa: SOLID WORKS
Agradecido : 3267 veces
Agradecimiento recibido: 3538 veces
Género:
Estado: Desconectado

Re: Prensa sujeta tubos

Mensaje por Ricardo »

No hace exactamente lo que pretendía, yo buscaba hacer un viaje de ida y otro de vuelta, pero bueno es lo que hay por el momento.

Saludos.

Última edición por Ricardo el Jue Nov 10, 2016 9:04 pm, editado 1 vez en total.
https://astemar-ricardo.blogspot.com

Procesador Intel I7 12700K a 3'60 Ghz, Ram DDR3-1600 32 Gb, Tarjeta gráfica NVIDIA GeForce GT1030, Windows 11 Home 64 bits
Avatar de Usuario

Autor del Tema
neiro82
Usuari@
Usuari@
Mensajes: 22
Registrado: Vie Dic 21, 2012 4:32 pm
Temas: 0
Programa: SOLID WORKS
Género:
Estado: Desconectado

Re: Prensa sujeta tubos

Mensaje por neiro82 »

Muy bueno Ricardo!! Lo unico que el pasador esi de 3 mm de diametro, va en el limite del agujero central...pero es que la imagen se ve muy mal...

Avatar de Usuario

Autor del Tema
neiro82
Usuari@
Usuari@
Mensajes: 22
Registrado: Vie Dic 21, 2012 4:32 pm
Temas: 0
Programa: SOLID WORKS
Género:
Estado: Desconectado

Re: Prensa sujeta tubos

Mensaje por neiro82 »

Al final pude renderizar algo, no es gran cosa, pero bueno...

Imagen

Última edición por Ricardo el Jue Nov 10, 2016 9:04 pm, editado 2 veces en total.
Tema anteriorTema siguiente